Springe auf Hauptinhalt Springe auf Hauptmenü Springe auf SiteSearch
WERBUNG
WERBUNG
WERBUNG

Erklär mal: Einstrang-System

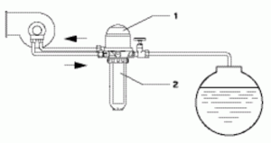
Beim Eintrangsystem wird aus dem Öltank nur soviel Heizöl entnommen wie es der installierten Brennerleistung entspricht. Daher ist hierbei die richtige Dimensionierung der Saugleitung besonders wichtig. Werden zu große Leitungsquerschnitte verlegt, kann es durch zu geringe Fließgeschwindigkeiten zum Ausgasen des Heizöls und damit zu Brennerstörungen kommen. Beim Einstrangsystem ist, um Brennerstörungen durch Luftblasen zu vermeiden, der Einsatz eines automatischen Heizölentlüfters besonders zu empfehlen.
Das Gerät wird zwischen Filter und Brenner installiert oder mit vormontiertem Einstrangfilter geliefert. Die Ölschläuche des Brenners werden
am Heizölentlüfter angeschlossen. Das vor der Düse überschüssige Öl wird im Entlüftungsaggregat permanent entlüftet und dem Brenner
erneut zugeführt.

Das Zweistrang-System bildet mit der Rücklaufleitung einen Risikofaktor, denn bei deren Undichtigkeit kann der gesamte Tankinhalt ausgepumpt werden. Um das Risiko so gering wie möglich zu halten, dass Heizöl unkonrolliert austritt, wird im Sinne der VAwS empfohlen z. B. bei Neuanlagen nur noch Einstrangsysteme zu installieren.

WERBUNG