Springe auf Hauptinhalt Springe auf Hauptmenü Springe auf SiteSearch
WERBUNG
WERBUNG
WERBUNG

Erklär mal: Mündungshöhe von Abgasanlagen

Bei raumluftabhängigen Gasfeuerstätten (Typ C) müssen die Mündungen der Abgasanlagen den First um mindestens 0,40 m überragen oder von der Dachfläche mindestens 1 m entfernt sein. Die Mündungen der

Abgasanlagen müssen Dachaufbauten, Gebäudeteile und Öffnungen zu Räumen auch von Nachbargebäuden und ungeschützte Bauteile aus brennbaren Baustoffen, ausgenommen Bedachungen, um mindestens 1 m überragen oder von ihnen mindestens 1,50 m entfernt sein.

(Achtung: Abweichende bauordnungsrechtliche Regelungen der Bundesländer wird hingewiesen)

Mündungshöhen
Mündungshöhen

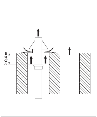
Aus Kanalentlüftern entweicht sehr feuchte Abluft. Diese kann im Luftrohr des raumluftunabhängigen Gerätes (Typ C) kondensieren und zu Geräteschäden führen. Die Mindestabstände in der untenstehenden Abbildung sind einzuhalten.

Abstände Entlüfter zum LAS-System
Abstände Entlüfter zum LAS-System

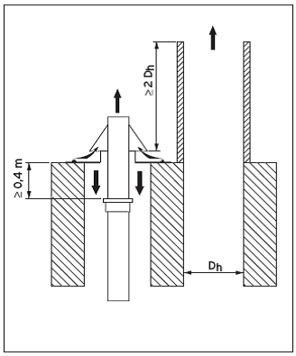
Schachtmündungen von Abgasleitungen neben einer anderen Abgasanlage

Grenzt die Mündung der Abgasleitung für das raumluftunabhängig betriebene Heizgerät unmittelbar an eine andere Abgasanlage, besteht die Gefahr, dass Abgase oder Schmutzpartikel angesaugt werden. Dies kann zu Beschädigungen oder Störungen des Heizgerätes führen. Um dies zu vermeiden, muss die andere Abgasanlage mit einem geeigneten Aufsatz erhöht werden. Die Höhe des Aufsatzes richtet sich nach dem Durchmesser der anderen Abgasanlage und muss nach untenstehender Abbildung ausgeführt sein. Kann die andere Abgasanlage nicht erhöht werden, dann muss das Heizgerät raumluftabhängig betrieben werden.

Abgasleitung im Schacht neben einer Abgasanlage, die nicht 
rußbrandbeständig sein muss
Abgasleitung im Schacht neben einer Abgasanlage, die nicht rußbrandbeständig sein muss

Die Mündung der Abgasleitung kann durch Wärmeeinwirkung des angrenzenden Schornsteines beschädigt werden (Schornsteine sind rußbrandbeständige, für Festbrennstofffeuerstätten geeignete Abgasanlagen).

Die Schachtmündung muss nach einer der folgenden drei Möglichkeiten ausgeführt werden:

Höhe des Schornsteins über Abgasleitung aus PP -raumluftunabhängig
Höhe des Schornsteins über Abgasleitung aus PP -raumluftunabhängig

Mündungsausführung 1

Der Schornstein muss durch eine rußbrandbeständige Verlängerung erhöht werden, so dass der Schornstein die Abgasleitung aus PP um mindestens 1 m überragt.

Höhe des Schornsteines über Abgasleitung aus PP mit Mündung aus Edelstahl 
- raumluftunabhängig
Höhe des Schornsteines über Abgasleitung aus PP mit Mündung aus Edelstahl - raumluftunabhängig

Mündungsausführung 2

Die Mündung der Abgasleitung aus nicht brennbaren Teilen muss bis 0,4 m unterhalb der Schachtmündung erstellt werden. Eine Erhöhung des Schornsteins gemäß der Abbildung ist erforderlich.

Höhe des Schornsteines über Abgasleitung aus PP mit Mündung aus Edelstahl 
– raumluftabhängig
Höhe des Schornsteines über Abgasleitung aus PP mit Mündung aus Edelstahl – raumluftabhängig

Mündungsausführung 3

Die Mündung der Abgasleitung aus nicht brennbaren Teilen muss bis 0,4 m unterhalb der Schachtmündung erstellt werden. Das Gerät muss raumluftabhängig (Typ B) betrieben werden.

WERBUNG